
(Today Nov 14th) – Cut Through the Noise to Explore True Innovation Opportunity Within Intelligent Automation! Join this Dynamic Event from November 14th to 15th in Austin, TX! I am thrilled to speak at the upcoming Intelligent Automation Exchange event in Austin. The topics around Generative AI, and Unveiling the Pragmatic Potential for Business Advancement […]

ust in case you missed it. This is a glimpse of of our combined futures. The video of the product demo is almost ๐ sci-fiโฆ I am not saying itโs the best or promoting this. But itโs the first of its kind, – (minus) the iPhone ๐ฒ ๐ก๐ผ๐๐ถ๐ฐ๐ฒ: The views expressed in this post are […]
Great post from Joanna Stoffregen, I do think itโs important and fair to call out Automation companies like UiPath, Automation Anywhere and others out to see whatโs next. With the depth and speed AI is innovating many software companies (meaning all companies at this point) and platform, services, and licensing companies need to wake up. […]

๐๐ฉ๐ญ๐ข๐ฆ๐ข๐ณ๐ข๐ง๐ ๐๐๐ง๐๐ ๐๐จ๐ค๐๐ง ๐๐ฌ๐๐ ๐- ๐๐จ๐ฐ ๐๐ฎ๐ญ๐จ๐ฆ๐๐ญ๐ข๐จ๐ง ๐๐๐ง ๐๐ซ๐ข๐ฏ๐ ๐๐ฎ๐ฌ๐ญ๐๐ข๐ง๐๐๐ข๐ฅ๐ข๐ญ๐ฒ ๐ข๐ง ๐๐ ๐๐ฉ๐๐ซ๐๐ญ๐ข๐จ๐ง๐ฌ: In the realm of data centers and technology, sustainability is a pressing concern. The cost and resource consumption associated with AI, particularly in the form of tokens, have raised the need for more efficient solutions. Automation plays a pivotal role in this context […]

๐๐ฎ๐ฌ๐ญ ๐๐ง: ๐๐ฉ๐๐ง๐๐ ๐๐ง๐ฅ๐๐๐ฌ๐ก๐๐ฌ ๐๐๐ฆ๐-๐๐ก๐๐ง๐ ๐๐ซ – ๐๐๐๐ฌ ๐๐ฎ๐ญ๐จ๐ง๐จ๐ฆ๐จ๐ฎ๐ฌ ๐๐ ๐๐ง๐ญ๐ฌ OpenAI’s latest announcement at today’s DevDay is a seismic shift in AI technology. GPTs, autonomous agents that allow you to create custom AI assistants for specific tasks, are set to redefine the AI landscape. No coding required, just instructions and knowledge – it’s democratizing AI. 1๏ธโฃ […]

๐๐ ๐ฆ๐๐ฎ๐๐ฒ๐ ๐ถ๐ป ๐๐ป๐๐ฒ๐ฟ๐ป๐ฎ๐๐ถ๐ผ๐ป๐ฎ๐น ๐ช๐ฎ๐๐ฒ๐ฟ๐: Navigating Regulations and Innovation *Although there may be an elaborate story here and it may all be FAKE* If it is real… AI and GenAI, innovative approaches are continually reshaping the industry. Recently, the BlueSea Frontier Compute Cluster (BSFCC) by Del Complex has raised questions about the creation of sovereign […]

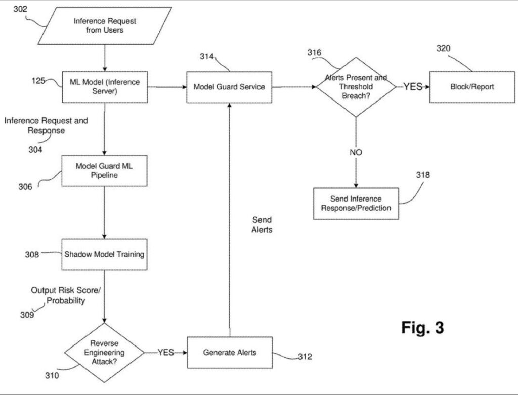
Oracle’s new patent for AI Defense๐ก๏ธ- pst itโs an #ai honeypot ๐ฏ Oracle’s new patent: a “machine learning model attack guard” – an AI defense strategy that protects sensitive training data, by faking out the attacker with a duped or shadow model. ๐ก The Need: AI models can be hypnotized with prompt injections, or in […]

๐ The Bletchley Declaration: Shaping the Future of AI Safety – November 1, 2023 + more to come! ๐ AIโs Potential: The Bletchley Declaration, published on November 1, 2023, recognizes AIโs global potential to enhance human well-being, peace, and prosperity. ๐ช Cooperative Efforts: This policy paper emphasizes the international communityโs collective endeavor to drive inclusive […]

I’m Attending – The Annual GBI Impact CISO & CIO Summit! Mark your calendar, get ready to learn, ask questions, and lead. This summit can help you navigate the ever-changing landscape of #ai, #automation, all while focused on #security. If you are leading enterprise efforts, this is where leaders like you belong. ๐ ๐ฆ๐๐ฎ๐ ๐๐ต๐ฒ๐ฎ๐ฑ […]

Throughout history, our world has been shaped by icons of innovation: The plow ๐พ, the automobile ๐, the computer ๐ฅ๏ธ, the airplane โ๏ธ, the sailboat โต, the quill and parchment ๐๏ธ, and the printed word ๐. Yet, with each transformative leap, a spooky kind of FEAR ๐ฑ often follows โ fear of the unknown, fear […]